Minha conta
Criar conta
Login - Entrar
Contactos
Finalizar
Carrinho compras
Início
Agricultura
Floresta e Jardim
Oficina
Contactos
Todas as categorias
Todas as categorias
Agricultura
Bancos, Volantes e acessórios diversos
Apoios
Bancos
Cabos e Acessórios
Caixas de ferramenta
Fechos
Manetes Punhos - Acessórios Motocultivador
Manilhas
Ponteiras de Direção
Rodas - Rodízios - Pneus - Jantes
Volantes
Bellota
Ancinhos e Escovas
Bellota Gama Elétrica
Calçado
Enxadas
Ferramentas para Jardim
Machados
Pás
Serrotes
Tesouras Manuais
Brinquedos
Cardans e Acessórios PTO
Acessórios Tomada de Força
Caixas redutoras
Cardan de Fuzível
Cardan de Roda Livre
Cardan Homocinético
Cardans Simples
Chumaceiras
Correias
Corrente
Cruzetas
Embraiagens
Forquilhas de Cardan
Forras
Junção de Cardan
Proteção de Cardan
Rolamentos
Trincos de cardan
Tubos de Cardan
Cisternas e Reboques
Acessórios para cisterna
Acessórios para Reboque
Argolas de engate
Cintas de Carga
Enologia
Hidráulica
Acessórios para Hidraúlica
Bombas Hidráulicas
Cilindros - Macacos Hidráulicos
Motores - Orbitrol Hidraúlico
Válvulas
Maquinaria para Agricultura
Distribuidor de adubo
Geradores
Motobombas e electrobombas para rega
Motoperfuradora e acessórios
Produtos quimícos
Rachadores de lenha
Sistemas de Rega
Material de corte
Bicos para Carregadores Frontais
Facas
Molas Volta Fenos
Parafusos - Pernos
Pente de Facas
Material elétrico, Faróis e Farolins
Amortecedores
Bateria
Cabos de Bateria
Carregadores de Bateria
Corta corrente
Espelhos retrovisores
Faróis de lavoura
Faróis, Óticas e Farolins para a frente
Farolins de luzes de matricula
Farolins laterais
Farolins para trás
Fichas de isqueiro
Fichas e cabo eléctrico
Interruptores de chave
Interruptores de STOP
Interruptores e comandos de direção
Interuptores de botão e de tecla
Kit de luzes para reboques e tractores
Lãmpadas
Manômetros - Visores - Válvulas de pressão e temperatura
Motor limpa vidros - haste -escova
Painéis e reflectores
Pirilampos e acessórios
Reguladores e alternadores
Relés
Terminais - fusíveis e acessórios
Terminais de Bateria
Material para Lavoura da Terra
Asas de Andorinha
Bicos
Facas de fresa
Facas Limpa Bermas
Martelos para trituradores
Parafusos para facas de fresa
Material técnico, Material para motores
Boias de gasoleo
Bomba de travões
Bombas de Água
Bombas de Gasóleo
Bombite
Bronzes
Carroçaria - Vidros - Fechaduras e acessórios
Centralinas
Depósitos
Discos de Travão
Embraiagens
Filtros de Ar
Filtros de Ar não Originais
Filtros de Ar Originais
Filtros de Cabine
Filtros de Cabine Originais
Filtros de Gasóleo
Filtros de Gasóleo não Originais
Filtros de Gasóleo Originais
Filtros de Óleo
Filtros de Óleo não Originais
Filtros de Óleo Originais
Filtros do Hidraúlico
Filtros do Hidraúlico não Originais
Filtros do Hidraúlico Originais
Foles - Cabos
Juntas e Vedantes
Manga de eixo
Mola de travao
Panelas - Colectores - Tubos de escape
Pistão de travão
Pré Filtros de Ar
Radiador - Tubos de radiador - Termostatos - ventoinhas
Retentores
SEGMENTOS
Tensores
Torneiras - Copos - Tubos de gasóleo
Veio Travões
Veios
Velas
Pulverização e acessórios
Abraçadeiras
Bicos cerâmicos
Bicos Reguláveis e acessórios
Bombas AR
Campânula - racords e acessórios
Comandos AR
Jactos e acessórios
Manómetros
Membranas e Valvulas para bombas AR
Membranas e valvúlas para bombas COMET
Pistolas e canas
Tampas para Bomba AR
Tubos e acessórios
Terceiros Pontos e acessórios
Afinadores
Barras Furadas
Braços do hidraulico
Cavilhas
Cavilhas com corrente
Cavilhas e pernos
Chavetas e Golpilhas
Estabilizadores de Corrente
Estabilizadores Rigídos
Ganchos de Engate Rápido
Kit Braços Completo Kubota
Munhões
Olhal para Barra
Olhal para Terceiro Ponto
Rótulas e Casquilhos
Terceiro Ponto Hidráulico
Terceiro Ponto Hidraúlico com Gancho
Terceiro Ponto Mecânico
Vidros
Floresta e Jardim
Acessórios a Bateria
Baterias e Carregadores
Expositores e Acessórios STIHL
Ferramenta especializada STIHL
Floresta e Jardim
Acessórios para Corta Relvas
Acessórios para Motosserras
Acessórios para Roçadoras
Máquinas
Material para Jardinagem
Óleos de Lubrificação e Bidões
Produtos de Protecção
Velas
Merchandising STIHL
Brindes e Promocionais STIHL
STIHL Collection
STIHL Timbersports
STIHL Toys
Peças de substituição STIHL
Corta Relvas (RM, RMA, RME, RMI, RT, RL, RLE, RLA)
Corta Sebes (HS, HSA, HSE)
Lavadoras (RE)
Motosserras (MS, MSA, MSE)
Parafusos
Perfurador (BT)
Roçadoras (FS, FSA, FSE)
Sopradores (BG, BR, BGA, BGE, SH)
Peças para reparação várias
Aparafusadoras
Berbequins
Corta Relvas a Gasolina
Lavadoras
Martelos pneumáticos
Rebarbadoras
STIHL
Acessórios a Bateria
Corta-Relvas (RM, RT, RL, iMOW)
Cortadores de Betão e Perfuradores (GS, TS, BT)
Equipamento de proteção individual (EPI)
Lavadoras, Varredoras e Aspiradores (RE, KG, SE)
Lubrificação, Poda, Abate e Técnica Florestal (TF)
Motobombas e Moto-Enxadas (WP, MH)
Motores Combinados (KM, KMA, MM)
Podadoras de Sebes (HS, HL)
Roçadoras, Foices e Aparadores (FS, FSA, FSE, FR, RGA)
Serrar e Cortar (MS, MSA, MSE, HT, HTA, GTA)
Sopradores e Pulverizadores (BG, BR, SH, SR, SG)
Varejadores (SP, SPA)
Oficina
Compressores e Acessórios
Acessórios para Compressores
Compressores
Empilhadores e Elevação
EMTOP
Bebrbequins e Aparafusadores
Consumiveis EMTOP
Eletroportateis
Eletroportateis EMTOP
Ferramentas a Bateria EMTOP
Ferramentas Manuais
Ferramentas Manuais EMTOP
Martelos Eletropneumaticos
Proteção individual EMTOP - EPI
King Tony
Chaves
Chaves de Caixa
Chaves de Parafusos, Pontas e Chaves Hexagonais
Drenagem e filtração
Extratores
Ferramentas de oficina
Ferramentas para eletricidade e eletrónicos
Luz
M7
Air
Eletroportateis
Garage
Máquinas de lavar alta pressão e acessórios
Acessórios para Máquinas de Lavar
Material para oficina
Bombas de massa
Bombas de óleo
Caixas e modúlos para arrumação
Diversos Oficina
Ferramentas, parafusos e máquinas
Lubrificadores
Luvas
Massa e outros lubrificantes
Pistolas com conta litros
Soldadoras
Trabalhos Especializados
Procurar
0 produto(s) - 0.00€
O seu carrinho encontra-se vazio!
Agricultura
Floresta e Jardim
Oficina
Home
Agricultura
Material de corte
Facas
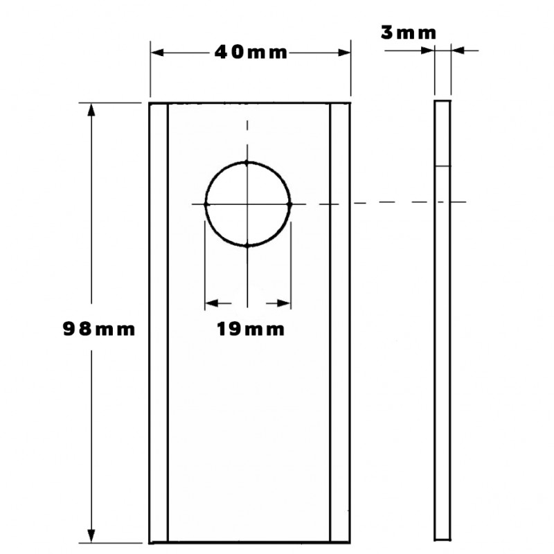
Facas Rotativa 98D
Facas Rotativa 98D
1.02€
Código do produto:
01767
Disponibilidade:
Em Stock
Preço s/ iva:
0.83€
Qtd:
Comprar
Descrição
Facas Rotativa 98D
Utilizamos cookies para melhorar sua experiência em nosso site. Ao navegar neste site, você concorda com o uso de cookies
Aceito
Saber mais